1969 First Patent - Trunking with modular elements for electric cables


1
1969 - Primo brevetto

Trunking with modular elements for electric cables

2
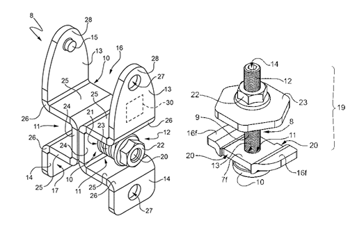
Hinge with grounding
3
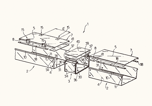
Modular, fast assembly trunking
4
Modular trunking improved to make the system airtight
5
Quick click cable ladders
6
Quick click trunking improved to contain cables
7
Joint with movable screw
8
Quick click joint
9
ZE Series: Fixing systems for photovoltaic systems (solar panels)
×